【關注】天問一號發射成功,商標被多家公司申請注冊
作者:柚子
發布時間:2020-07-28
文章來源:知識產權界
2020年7月23日北京時間12時41分,長征五號遙四運載火箭搭載我國首顆火星探測器“天問一號”,在海南文昌衛星發射中心成功發射,“天問一號”將在深空中飛行大約7個月的時間,2021年2月份左右到達火星。
商標網數據顯示,截止7月24日,有關“天問一號”的商標申請共5條,申請公司包含湖南國科防務電子科技有限公司、天津星宇航天生物科技有限公司、寧波蓋倫門控設備有限公司、陜西銀磚建材有限公司,商標狀態均為等待實質審查。
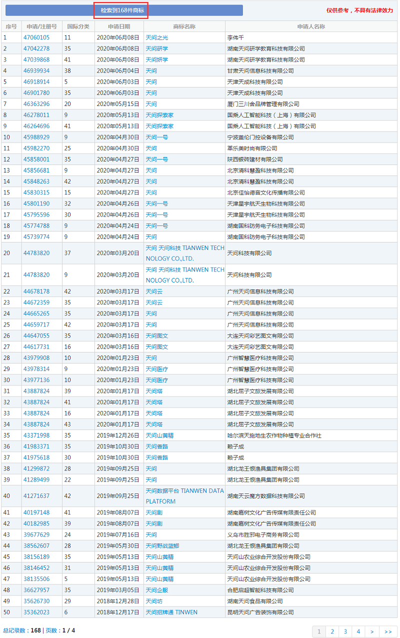
包含“天問”字樣的商標共有168件;
在1994年8月申請了第一件“天問”商標,目前由于期滿未續展已經被注銷。
雖然“天問一號”商標遭到搶注,但是“火星車”外觀專利早在2015年8月就已經被申請。


圖片來源:百科君的IP雜談
那些被申請為商標的衛星名稱
衛星名稱被申請為商標可不只“天問一號”這么一個,比如,中國于1970年4月24日發射的第一顆人造地球衛星“東方紅一號”;
還有我們比較熟悉的“神州”系列;
商標被搶注,域名也不放過
墨子號
mozihao。com(注冊于2016年2月)
mozihao。cn(注冊于2013年1月)
mozihao。net(注冊于2016年8月15日)
mozihao。com。cn(注冊于2016年8月15日)
......
東方紅系列衛星
dongfanghon。com(注冊于2000年)
dongfanghong。cn(注冊于2009年)
dongfanghong。com。cn(注冊于2004年)
dongfanghong。net(注冊于2010年)
......
嫦娥系列衛星
change(注冊于2010年)
change。cn(注冊于2003年)
change。com。cn(注冊于2007年)
......
北斗衛星導航系統
beidou。com(注冊于2002年)
beidou。cn(注冊于2012年)
beidou。com。cn(注冊于2006年)
beidou。net(注冊于2001年)
beidoudaohang。com(注冊于2009年)
beidoudaohang。com。cn(注冊于2012年)
beidoudaohang。net(注冊于2011年)
beidoudaohang。cn(注冊于2009年)
雖然對于這種搶注行為讓人表示很無奈,但是小編還是想說:真心為祖國的日益強大而驕傲和自豪。